
1 名前: 名無しさん必死だな 投稿日:2012/05/05(土) 18:05:49.63 ID:zf6ig3qX0
R3L3ボタンがつくという噂
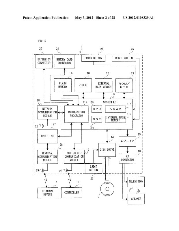
Wii U talk - A look inside the Wii U, rumored clickable Circle Pads
http://www.gonintendo.com/?mode=viewstory&id=176710
以下、機械翻訳
Wii Uの内側の観察は、ここにあります!それは、あなたが望んでいたものですか?それは我々が望んでいたものではないかもしれませんが、しかし、この回路図は本物です。そして、まっすぐに任天堂特許から来ます。それで持ってください、少年と少女!
我々はまた、回路図と一緒にジューシーな噂を見つけました。Wii Uのサークルパッドは、ずっとあなたが360やPS3上で見たものと同じように、クリッカブルであるという噂だ。これは確認されていませんが、過去の有効な情報を提供しているソースから来ています。
2 名前: 名無しさん必死だな 投稿日:2012/05/05(土) 18:07:17.70 ID:EuraY2Wz0
何処に付けるんだ?
18 名前: 名無しさん必死だな 投稿日:2012/05/05(土) 20:01:21.94 ID:mFh+Tinw0 [1/2]
>>2
スラパがスティックになってたらそこ
スラパのままでも、押し込みボタンくらいは仕込めるんじゃないかな
携帯機のそれと比べてタブコンの厚さやスラパの高さには制限ないし
3 名前: 名無しさん必死だな 投稿日:2012/05/05(土) 18:07:39.59 ID:uwUjLnD80 [1/2]
タブコンはあのままでいいからTPSFPSがやりやすいコントローラー別に作れや
5 名前: 名無しさん必死だな 投稿日:2012/05/05(土) 18:09:46.02 ID:3lP42HjW0
>>3
つ リモヌン
9 名前: 名無しさん必死だな 投稿日:2012/05/05(土) 18:26:55.86 ID:uwUjLnD80
>>5
確かにリモコンって素晴らしいかも
7 名前: 名無しさん必死だな 投稿日:2012/05/05(土) 18:15:09.61 ID:lTTWT6hb0
マジかよ。
ボタンいっぱい押すゲームやる奴らにはいいんだろうが、俺にはあの押すアナログスティックの操作感が好かん。
というか、あれは最低だ。
8 名前: 名無しさん必死だな 投稿日:2012/05/05(土) 18:22:05.71 ID:XX9eUN3+0 [1/2]
完全に互換前提なら有るんじゃないかなとは思う
だって何も考えなくていいから
10 名前: 名無しさん必死だな 投稿日:2012/05/05(土) 18:32:14.57 ID:kuQLcqX30
パルテナ持ちでやれよ
12 名前: 名無しさん必死だな 投稿日:2012/05/05(土) 18:54:48.59 ID:p3TGsIn60 [1/2]
R3L3があると
サードのHDマルチも楽になるだろうな
そういう意味ではあるに越した事は無い
13 名前: 名無しさん必死だな 投稿日:2012/05/05(土) 19:01:08.04 ID:WhgHwx1Y0
サードのマルチがなくて苦しんだWiiなのだから、WiiUで押し込みがあってもおかしくはない
問題は耐久度
アナログスティックじゃなくてスライドパッドの押し込みだとどんな感じになるんだろうね
14 名前: 名無しさん必死だな 投稿日:2012/05/05(土) 19:16:59.05 ID:3lP42HjW0 [2/2]
スラパのほうが高さがない分押しやすそうだけどどうなんだろう
15 名前: 名無しさん必死だな 投稿日:2012/05/05(土) 19:24:38.22 ID:6WHf70T40
スライドパッドだと間違って押すこと多そうだけどね
傾けるじゃなくてスライドさせるだから、押しながらする人もいるだろうし
16 名前: 名無しさん必死だな 投稿日:2012/05/05(土) 19:47:16.28 ID:p3TGsIn60 [2/2]
スライドパッドだと暴発すると思うな
Uコンがダメなら押し込みに対応したクラコンUとな出せばいいんだけど。どうすんだろう任天堂は
17 名前: 名無しさん必死だな 投稿日:2012/05/05(土) 19:59:17.61 ID:XX9eUN3+0 [2/2]
暴発するという仮定からどうすんだといわれても困るけどねw
個人的にはがくがくっとしてしまう押し込みは結構苦手
携帯の中央ボタンも、トラックボールの押し込みも苦手なんだよな
ただ、スライドパッドの押し込みはまだ体験したこと無いから本当に実装されたら
どんなんだろうとちょい気にはなる
19 名前: 名無しさん必死だな 投稿日:2012/05/05(土) 20:12:42.34 ID:nkqoFDNW0 [1/2]
R3L3って、FPSのプレイ中で一番頻繁に使う「スプリント」と
咄嗟に押す必要がある(=ABXYやタッチパッドでは代用できない)「ナイフ」が
割り当てられてる事が多いから、実はメチャクチャ重要なんだよな
20 名前: 名無しさん必死だな 投稿日:2012/05/05(土) 20:20:46.34 ID:q9QmF/p0i
えっwまだ無かったのww
21 名前: 名無しさん必死だな 投稿日:2012/05/05(土) 21:04:31.63 ID:NoyOrPtn0
ほぼ無限にボタンを配置出来るタッチ画面があるのに
R3L3ボタンまで追加するとは思えんがな
付けても使うことあるのか疑問だわ
タッチパネルなくちゃ、あってもいいと思うけど
22 名前: 名無しさん必死だな 投稿日:2012/05/05(土) 21:27:08.61 ID:uJ47ELLHi
R3L3って何?
そんなPS用語を当たり前に言われても分からないんですけど
26 名前: 名無しさん必死だな 投稿日:2012/05/05(土) 22:11:15.07 ID:mFh+Tinw0 [2/2]
>>22
アナログスティックを押し込む操作
つーかこれ、スラパのほうが向いてね?
スティックだと倒してるときはちょっとオンオフしにくいんだよな
24 名前: 名無しさん必死だな 投稿日:2012/05/05(土) 21:57:36.73 ID:U8Hj7iiV0
テレビ見ながら手元のタッチパネル操作しろってのが気に入らない
物理ボタンが多いのに越したことはない
25 名前: 名無しさん必死だな 投稿日:2012/05/05(土) 22:09:37.13 ID:nyBMsnV20 [2/2]
じゃ、R10L10くらいまで付けるか

28 名前: 名無しさん必死だな 投稿日:2012/05/05(土) 23:13:50.60 ID:g/HAG0hV0
ああ、変形するために2個同時に押すボタンね
ぶっちゃけエピオン以外変形する意味なかったよねw
29 名前: 名無しさん必死だな 投稿日:2012/05/05(土) 23:15:16.63 ID:ivBB8VeR0
ここまでやっといて押し込み操作だけ無いとか
中途半端だなあと思っていたので搭載されるようであればなにより
個人的には暴発しがちであまり好きじゃないんだけどね、あれ
30 名前: 名無しさん必死だな 投稿日:2012/05/05(土) 23:36:13.35 ID:oy/mTs6K0
個人的には全く要らないボタンだけど、もしボタンが無いことがマルチの障壁になるのなら
そうならないように付けるべき
32 名前: 名無しさん必死だな 投稿日:2012/05/06(日) 00:27:02.45 ID:BbzcO3vj0
ほんと使いづらい物が事実上標準になってみんな迷惑
誰が考えたんだよもう
34 名前: 名無しさん必死だな 投稿日:2012/05/06(日) 02:31:38.31 ID:e92wlqPv0
FPSには欲しいな
スプリントするのに


0 件のコメント:
コメントを投稿